首 页
关于蓝虹
产品系列
公司新闻
业绩工程
蓝虹与ABB
订购热线
联系蓝虹
 
Welcome to www.lhdz.com
 
 
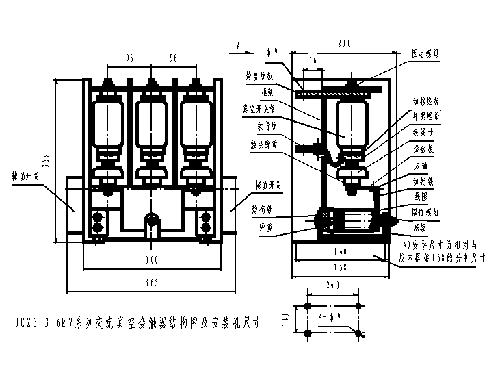
3.6 kv系列
   

单位

参数

 

 

 

额定工作电压(Ue

kV

3.6

额定工作电流(Ie

A

160200250400630

额定发热电流(Ith

A

160200250400630

额定频率

Hz

50/60

额定接通能力(I

A

10Ie

额定分断能力(Ic

A

8Ie

极限分断能力

A

10Ie

额定短时耐受电流及其持续时间

A/s

10Ie/4

额定峰值耐受电流(1/2周波)

A

25 Ie

 

 

额定电压(Us1

V

AC.or DC.110/220

额定功率(Ps

电保持

VA

600/50(吸合/保持)

机械保持

900/600(合闸/分闸)

辅助电路

形式

 

3a+3b

额定值

 

380V/AC.5A or DC.1A

额定操作频率

长期或机械保持型

/h

300

短时

600

机械寿命2

万次

100

电寿命

万次

25(AC-3);10(AC-4)

1:额定控制电压亦可按用户需要定制;

   2:对于机械保持型式每30万次需要更换锁扣机构

   

技术要求

单位

参数

工频

耐受

电压

主电路

相间及相对地

kV

18

真空断口间

kV

18

二次回路对地

kV

2(半导体及阻容元件除外)

机械

特性

合闸时间

ms

200

固有分闸时间

ms

160(电保持)

 60(机械保持)

三相不同期

ms

3

合闸弹跳

ms

10

 
Copyright www.lhdz.com 无锡市蓝虹电子有限公司 版权所有